- Home
- Stainless Steel Pad Eyes
- Lashing Rings
- Bolt-On Lashing Ring
Bolt-On Lashing Ring
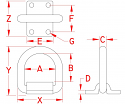
Heavy duty lashing ring is used for tie-down applications. The D ring is made of forged 316 Stainless Steel. Features bolt-on mounting plate. Folds flush when not in use. Great for cargo applications: long distance hauling (especially in exposed elements) and overseas container shipments.
Products

Categories
-
Stainless Steel Shackles
- USA Made Anchor Shackle With Screw Pin
- USA Made Round Pin Anchor Shackle
- Anchor Shackle
- Bolt Chain Shackle
- Bow Shackle
- Chain Shackle
- Long D Shackle w/ Captive Pin
- Long D Shackle w/ Screw Pin
- Round Pin Anchor Shackle
- Round Pin Chain Shackle
- Special Bow Shackle w/ No-Snag Pin
- Special D Shackle with No-Snag Pin
- Stainless Bolt Anchor Shackle
- Straight D Shackle
- Straight D Shackle with Captive Pin
- Twist Shackle (Cast)
- Twist Shackle with No-Snag Pin
- Wide D Shackle
- Wide D Shackle With No-Snag Pin
- Halyard Shackle with Key Pin
- Long D Shackle Shackle w/ Key Pin
- Headboard Shackle w/ Captive Pin
- Stamped D Shackle
- Webbing Shackle
- Survival Bracelet Accessories
-
Stainless Steel Turnbuckles
- Turnbuckle Components (Bodies, etc.)
- Cast Body Jaw And Eye Turnbuckle
- Forged Jaw And Eye Turnbuckle (Open Body)
- Turnbuckle (Closed Body) Jaw & Jaw
- Turnbuckle (Closed Body) Jaw & Swage
- Turnbuckle (Closed Body) Toggle & Swage
- Turnbuckle (Closed Body) Toggle & Toggle
- Turnbuckle (Open Body-Cast) Eye & Eye
- Turnbuckle (Open Body-Cast) Hook & Eye
- Turnbuckle (Open Body-Cast) Hook & Hook
- Turnbuckle (Open Body-Cast) Jaw & Jaw
- Turnbuckle (Open Body-Forged) Eye & Eye
- Turnbuckle (Open Body-Forged) Hook/Eye
- Turnbuckle (Open Body-Forged) Hook/Hook
- Turnbuckle (Open Body-Forged) Jaw & Jaw
- Turnbuckle (Open Body-Forged) Stud & Stud
- Stainless Steel Wire Rope
- Stainless Steel Chain
-
Stainless Steel Deck & Cabin Hardware
- Cleats and Chocks
-
Rail, Handrail And Bimini Fittings
- Bimini Hardware
- Rail End Caps (Flat)
- Rail Fittings, Rail Ends
- Rail Fittings, 3-Way Corner
- Rail Fittings, 4-Way Tee and Corner
- Rail Fittings, 60 & 90 Degree Tee
- Rail Fittings, 90 T with Eye
- Rail Fittings, Bow Form & Elbow
- Rail Fittings, End & Center
- Rail Fittings, Rectangular Base
- Rail Fittings, Round Base
- Rail Fittings, Take-Apart Slides
- Rail Tubing
- 6 Inch Deck Access Hatch
- Hinges
- Hose Deck Fills
- Swim Platforms
- Through Hull Fittings
- Chain & Deck Pipe
- Rub Rail
- Stainless Fairlead and Gasket
- Brackets, 90 Degree Angles
- Door Stop & Catch
- Hooks, Handles and Holders for Deck and Cabin
- Latches And Hasps
- Handrails
- Flush Lift Rings and Slam Latches
- Winch Handle Holder
- Utility Wall Clip
- Hawse Deck Pipes
- Transom Drain Plugs
- Floor Drain Plate/Vent
- Louvered Vents
- Antenna Mounts
- Fishing Rod Holders
- Flag/Pennant Staff, Bow Rail
- Folding Boat Step
- Lighting and Electrical
- Bow/Stern Eye, U-Bolt
- Fender Hook
- Microphone Clip
- Shore Power Cable Holder
- Ski Tow Ring (Transom Mount)
- Pintles & Gudgeons, Dinghy/Keelboat
-
Stainless Steel And Other Rigging Hardware
- Kong Elastic Tethers
- Machine Swage Fittings
-
Lifeline Fittings (Hand Crimp)
- Hand Swage Gate Eye (Non-Swivel)
- Hand Swage Joined Gate Eyes (Non-Swivel)
- Hand swage Joined Swivel Gate Eyes
- Hand Swage Lifeline Adjuster
- Hand Swage Pelican Hook
- Hand Swage Short Stud
- Hand Swage Stud
- Hand Swage Swivel Gate Eye
- Hand Swage Toggle
- Hand Swage Toggle Turnbuckle
- Hand Swage Tool
- Mini Hand Swager
- Thimble, Federal Specification 304SS
- Thimble, Federal Specification 316SS
- Thimble, Heavy Duty
- Thimbles, Extra Heavy Duty
- Thimbles, Standard
-
Blocks and Sheaves
- Mini Pulley Blocks w/ 1 Sheave
- Schaefer Blocks
- Seine (Snatch) Blocks
- Snatch Blocks
- Square Swivel Eye Blocks
- Stainless Sheaves
- Surface Mount Blocks
- Swivel Blocks w/ 1 Sheave
- Swivel Blocks w/ 2 Sheaves
- Swivel Eye Blocks w/ 1 Sheave
- Swivel Eye Blocks w/ 2 Sheaves
- Wire Rope Clip, 304 Cast
- Wire Rope Clip, 316 Forged
- Wire Rope Clips, Chair Clips
- Bimini/Webbing Clips
- Boom Bails, Heavy Duty - Forged
- C Link
- Chainplates
- Clevis Pins
- Fixed Snap Shackles
- Oval Swage Sleeve
- Quick Release Pins, Suncor
- Snap Shackles, Cast Jaw Swivel
- Stainless Steel Hooks and Rings
- Stamped Jaw Swivel Snap Shackles
- Swivel Snap Shackles
- Swivels, Regular and Heavy Duty
- Threaded Pelican Hook
- Toggle Pins
- Toggle, Includes Pin & Ring
- Triangular Plates
-
Stainless Ratchet Buckle & Tie-Down Accessories
- Additional Buckles (Non-Ratcheting)
- Jacklines
- Nylon Webbing
- Over-Center Buckle Assembly With Clips
- Ratchet Assembly with Flat hooks
- Ratchet Assembly with J hooks
- Ratchet Assembly with S Hooks
- Ratchet Buckles
- Stainless Ratchet Assembly with Clips
- Webbing Assemblies
- Webbing Hardware Hooks and clips
- Webbing Kits and Hangers
- Lifeline And Stanchion Page
-
Stainless Steel Eye Bolts
- Forged Eyebolts With No Shoulder
- Forged Eyebolts With Shoulder
- Unwelded Eyebolts
- Welded Eyebolts (Metric and Standard)
- Cast Lifting Eye Nut
- Forged Lifting Eye Nut
- J-Bolts
- Machine Eye Bolt
- Lag Eye Screw
- Lag Ring Bolt
-
Metric Shoulder Eye Bolt
- M6 Stainless Metric Shoulder Eye Bolt
- M8 Stainless Metric Shoulder Eye Bolt
- M10 Stainless Metric Shoulder Eye Bolt
- M12 Stainless Metric Shoulder Eye Bolt
- M16 Stainless Metric Shoulder Eye Bolt
- M18 Stainless Metric Shoulder Eye Bolt
- M20 Stainless Metric Shoulder Eye Bolt
- M24 Stainless Metric Shoulder Eye Bolt
- Eyebolts with Rings
- Special Eyebolts
- Eye End
-
Stainless Steel Hooks & Spring Clips
- Asymmetrical Harness Clip
- Chain Hooks
- Forged Grab and Slip Hooks
- Harness Clips with Extras
- Heavy Duty Swivel Eye Hook
- Key Lock Spring Clip
- Mini Clip
- Mooring Hook Kit
- Rounded Harness Clip
- Screw Lock Harness Clip
- Single & Double Swivel Eye Bolt Snaps
- Spring Clip & Eye (Snap Hook)
- Spring Clip & Eye Key Lock
- Spring Clip (Snap Hook)
- Spring Clip w/ Key Lock
- Spring Clip w/ Screw Lock
- Spring Clip w/ Special Gate
- Spring Gate Snap
- Stainless Key Ring
- Threaded Shank Hook
- Trigger Snap
- Unthreaded Shank Hook
- Wide Asymmetrical Clip
- Eye Hook
- Fixed Eye Snap
- Spring Clip (Wire Lever)
- Swivel Eye Snap
- Asymmetrical Spring Clip
- Chain Clip
- Double Action Safety Hook, Wichard
- Shock Cord Hooks and Hog Rings
-
Stainless Steel Pad Eyes
- Anchor Base With Stud
- Heavy Duty Folding Pad Eye
- Hinged/Folding Cast Pad Eye
- Lashing Rings
- Stainless Steel Hoist Assemblies
- Stainless Swivel Pad Eye
- Stainless Tow Pad Eye
- Stamped Diamond Pad Eye
- Swivel Pad Eye With Ring
- Weld-on Lashing Ring
- Oblong Pad Eyes & Backing Plates
- Pad Eyes, Tie-Down & Footmans Loops
- Heavy Duty/Oblong Pad-eyes
- Stamped Pad Eyes
- Standard Pad Eyes
- Eye Strap Pad Eyes, 2 Hole/4 Hole
- Folding Heavy-Duty Pad Eyes, Forged
- Round Pad Eyes
- Heavy Duty Square Pad Eyes
- Heavy Duty Diamond Pad Eyes
- Large Mast Pad Eyes
- Pad Eyes, Anchor/ Anchor With Swivel
- Pad Eyes, Lifting Ring
- Pad Eyes, Removable Eye Deck Plate
- Side Ring Pad Eyes
- Stainless Steel U-Bolts
- Stainless Steel Trailer Parts & Accessories
- MicroStar LED Lights by Suncor
-
Stainless Steel And Other Tools
- Cutting Tools (Wire Rope & Bolt/Chain)
- Hand Swage Tool
- Johnson Crimping Tools
- Passivating Fluid
- Stainless Steel Shackler & Bottle Opener
- Steritool Stainless Screwdrivers
- Swage It Swaging Tool
- Stainless Adjustable Wrenches
- Stainless Steel Locking Pliers
- Stainless Steel Spanner Wrenchs
- Hand Riverting Tools
- Steritool Stainless Steel Open End Wrenches
- Stainless Steel Anchors and Accessories

Bestsellers

Authentication

